武进不锈直线涨停金牛网金牛网金牛网,首钢股份、柳钢股份、华菱钢铁、新钢股份、方大特钢等跟涨。
举报 第一财经广告合作,请点击这里此内容为第一财经原创,著作权归第一财经所有。未经第一财经书面授权,不得以任何方式加以使用,包括转载、摘编、复制或建立镜像。第一财经保留追究侵权者法律责任的权利。如需获得授权请联系第一财经版权部:banquan@yicai.com 相关阅读
固态电池概念股再掀涨停潮,多家公司已相继发布公告并提示风险截至发稿,中伦新材、派特尔、普路通等10股涨停,星源材质、福德科技、华盛锂电等涨幅居前。
6 98 06-26 10:21
上半年净利同比预增267%左右,泰凌微开盘10分钟强势涨停截至发稿,该股报48.16元,成交额7.02亿元,换手率8.99%。
61 06-25 09:49
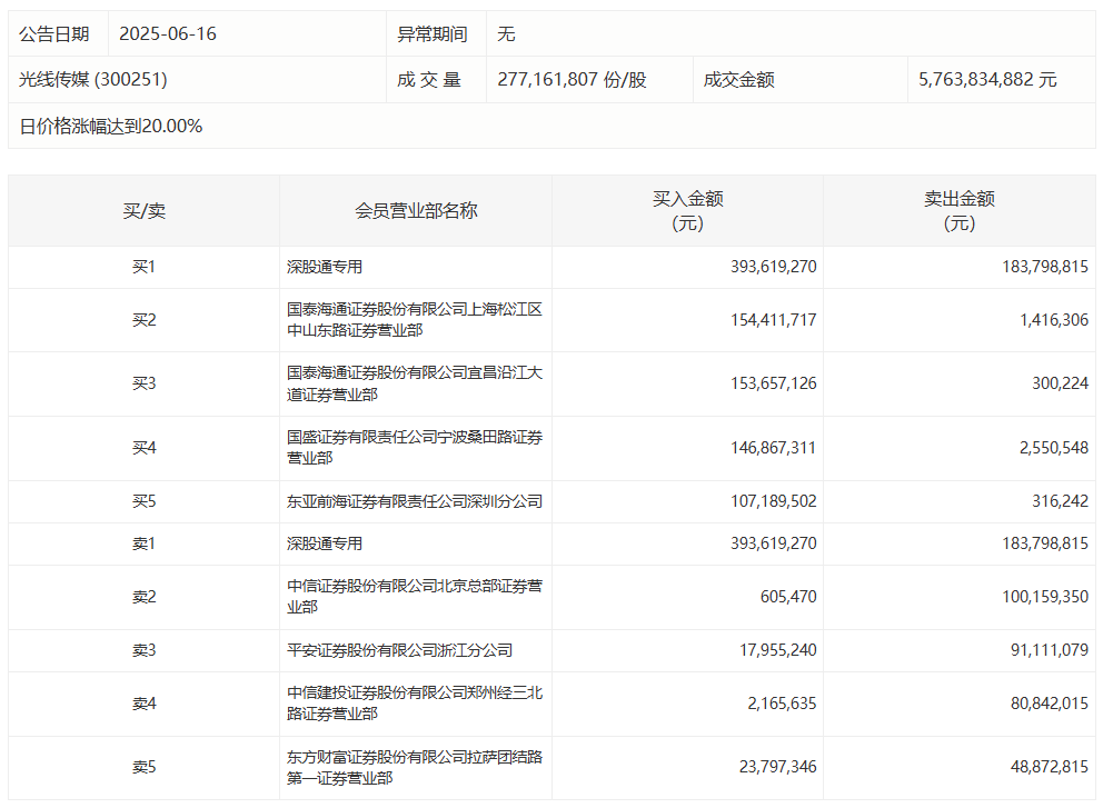
光线传媒今日涨停 深股通专用席位买入3.94亿元并卖出1.84亿元光线传媒今日涨停 深股通专用席位买入3.94亿元并卖出1.84亿元
18 06-16 16:26
成飞集成今日涨停,深股通专用席位买入7404.18万元并卖出6284.81万元成飞集成今日涨停,深股通专用席位买入7404.18万元并卖出6284.81万元
0 06-13 16:44
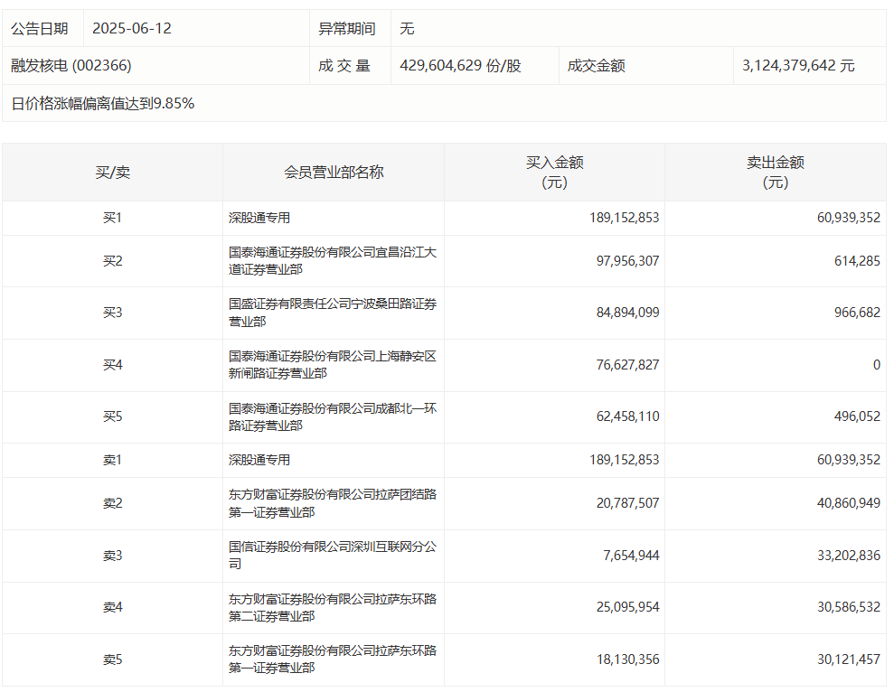
融发核电今日涨停 深股通专用席位买入1.89亿元并卖出6093.94万元金牛网融发核电今日涨停 深股通专用席位买入1.89亿元并卖出6093.94万元
21 06-12 16:29 一财最热 点击关闭金港赢配资提示:文章来自网络,不代表本站观点。